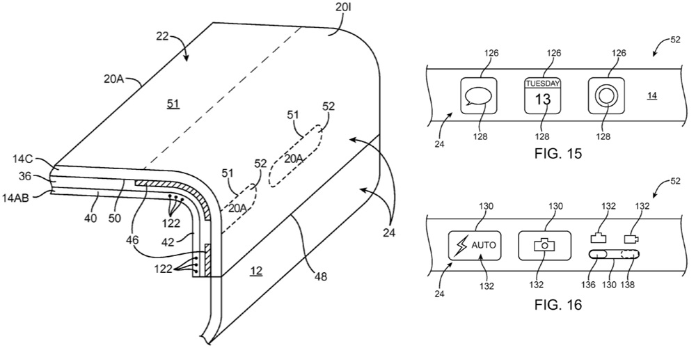
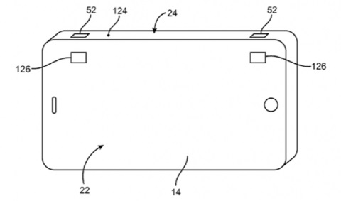
Компанія Apple отримала патент на пристрій з загнутими краями дисплея, віртуальними кнопками, перемикачами та інформацією, яка буде відображатися на краях екрану. Як повідомляє 9to5mac.com, подібне оформлення пристрою зустрічається в Samsung Galaxy Edge.
Крім того, в 2014 році, майже за рік до випуску Galaxy Note Edge, Apple вже отримала патент на смартфон з загнутими краями. У новому патенті Apple пропонує зробити розрив між передньою стороною і бічними гранями дисплея, в той час, як Samsung в своїх пристроях використовує безперервний гнучкий екран.
Раніше в мережі з'явилися перші фото корпусу iPhone 7.
Аналітики припускають, що iPhone 7 буде обладнаний другим динаміком. На їхню думку, для поліпшення якості звуку Apple також буде використовувати Cirrus Logic, а спікер розміститься на місці, де раніше був роз'єм для навушників.
Крім того, аналітик компанії KGI securitie Мін-Чі Куо припустив, що iPhone 7 Plus буде випущений з двома камерами. Крім того, Куо прогнозує, що смартфон вперше буде обладнаний оптичним зумом з 2-3-кратним збільшенням.


