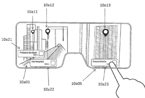
У мережі з'явилося зображення нового патенту Apple, який описує "розумні" окуляри з можливістю відображення доповненої реальності.
На даний момент жодних подробиць про пристрій немає, відомо тільки, що окуляри зможуть накладати віртуальні об'єкти на реальні.
Варто відзначити, що подібну ідею ще у 2013 році компанія Google планувала реалізувати у своїх "розумних" окулярах, але тоді можливостей щодо її здійснення було набагато менше.
Раніше повідомлялося, що Apple отримала патент на соціальну мережу, яка покликана об'єднувати людей на основі їх способу життя. На сайті Бюро з реєстрації патентів і торгових марок опублікований документ, в якому міститься принцип роботи нової програми компанії.

