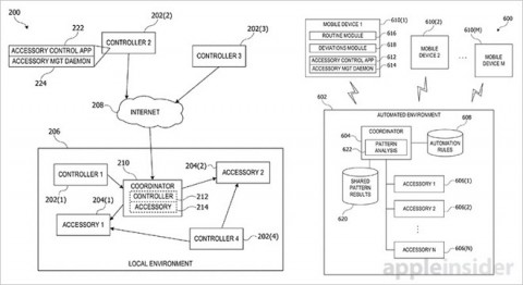
Компанія Apple представила новий патент, який описує роботу центрального вузла в "розумному" будинку. За задумом розробників компанії, в системі буде використовуватися платформа, яка пристосовується до дій користувача. Повідомлення про патенті було опубліковано на сайті Аpple Insider.
У патенті Apple використовується центральний вузол, який отримав назву "координатор". Він отримує інформацію не тільки від датчиків в "розумному" будинку, але і від мобільних пристроїв. Зібрані дані повинні допомогти різним системам підлаштовуватися під мешканців. Зокрема, система здатна запам'ятати приблизний час, коли людина повертається з роботи, і до цього моменту підлаштовувати температуру, включати музику і т. д.
Інженери також передбачають можливість навчання платформи при наявності двох і більше користувачів. В цьому разі координатор буде відслідковувати звички користувачів залежно від їх дій і стосунків один з одним.
Раніше повідомлялося, що Apple отримала патент на соціальну мережу, яка покликана об'єднувати людей на основі їх способу життя. На сайті Бюро з реєстрації патентів і торгових марок опублікований документ, в якому міститься принцип роботи нової програми компанії.


