Бюро патентів і товарних знаків США видало компанії Boeing патент на виробництво системи, яка може конвертувати шум в електроенергію. Відповідно до опису, система може використовуватися в аеропортах, у яких літаки, що злітають і заходять на посадку видають сильний шум.
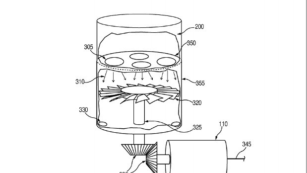
Згідно до патенту, система буде складатися з декількох елементів. Передбачається, що вздовж злітно-посадкових смуг на рівній відстані один від одного будуть встановлені акустичні збірники, які будуть уловлювати звукові коливання від двигунів літаків. Потім цей шум буде передаватися до конвертуючої камери.
Камера буде працювати за принципом насоса: звукові хвилі будуть коливати спеціальну перетинку, яка при русі вгору буде підсмоктувати повітря ззовні, а при русі вниз - потроху стискати його і проштовхувати у відсік з турбіною. У патенті вказується, що швидкість і щільність повітряного потоку будуть пропорційні рівню шуму.
Повітря, яке буде надходити від конвертера, буде обертати лопатки турбіни, яка, в свою чергу, буде через редуктор розкручувати генератор. Електрику, що буде вироблятися останнім, планується накопичувати в акумуляторах. За роздачу виробленої електроенергії споживачам буде відповідати спеціальна станція.
Кількість електроенергії, яка вироблятиметься установкою, поки не уточнюється.
Раніше повідомлялося про те, що Boeing і Apple будуть виробляти електроніку для армії США. Компанії займуться розробкою і виробництвом так званої гнучкої гібридної електроніки для інтеграції з різними матеріалами. Цю електроніку можна буде розтягувати, скручувати або згинати для використання в обшивці літаків, кораблів та інших системах озброєння.
