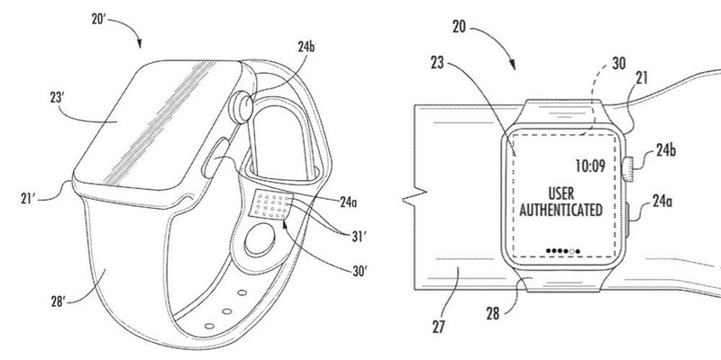
Компанія Apple подала кілька патентних заявок, пов'язаних з "розумними" годинниками. Одна з них описує розблокування пристрою за допомогою шкіри на зап'ясті, повідомляє "Популярная механика".
Технологія передбачає розміщення на ремінці годинника біометричного сенсора, який буде аналізувати теплове зображення шкіри на зап'ясті користувача, а також текстуру шкіри і волосяний покрив.
Інші патенти описують саморегулюючий ремінець смарт-годинника та індикатор на ремінці, який буде повідомляти, наприклад, про нові повідомлення.
Підписуйтесь на наш Telegram-канал з новинами технологій та культури.
Раніше Apple запатентувала нову гарнітуру для доповненої реальності. На відміну від вже існуючих, новий пристрій буде захоплювати обличчя людини цілком і потім транслювати у віртуальний простір.

