Агентство з патентів і торгових марок США опублікувало нові патенти компанії Apple, які описують складні iPhone, при виробництві яких використовується рідкий OLED-дисплей, повідомляє Appleinsider.
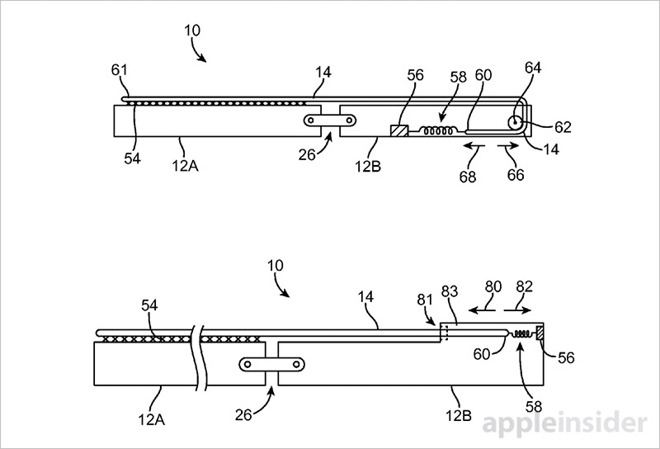
Корпус смартфона буде виготовлений зі сплаву нікелю і титану, відомого своєю еластичністю і унікальним ефектом пам'яті форми. В якості альтернативних варіантів матеріалів корпусу також вказані різні гнучкі полімери.
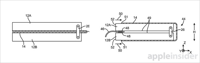
Патент описує кілька прикладів, у яких пристрій розділений на верхню і нижню частини, кожна з яких буде містити окремі компоненти. Частини смартфона будуть кріпитися між собою за допомогою шарнірних механізмів, що дозволяє секціям пристрою переміщатися відносно одна одної.
Крім того, компанія розглядає варіанти, при яких iPhone буде складатися не всередину, а назовні. Для цього частина дисплея скручується всередині корпусу і розгортається у момент згинання.
Apple представила iPhone 7 на презентації 7 вересня. Новий смартфон обладнаний зміненою кнопкою "додому", яка тепер стала чутливою до тиску. Крім того, iPhone 7 є водо - і пилонепроникним. У новому смартфоні Apple відсутній роз'єм для навушників.
За відомостями видання Business Insider, нова модель буде називатися iPhone 8, а не iPhone 7s, чого можна було б очікувати, слідуючи традиціям неймінгу смартфонів компанії.


