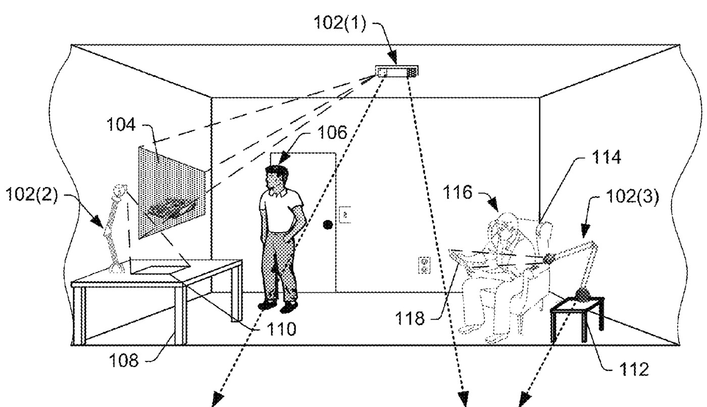
Компанія Amazon запатентувала систему доповненої реальності, яка не вимагає для використання ніяких спеціальних окулярів або шоломів, повідомляє Engadget.
Картинка виводиться на різні об'єкти з допомогою проектора, а камери фіксують всі рухи користувача, що дозволяє йому взаємодіяти з віртуальним середовищем. Варто відзначити, що використовується всього один проектор, що виключає необхідність постійного калібрування системи перед запуском. Це значно відрізняє систему Amazon від аналогічного проекту RoomAlive (раніше відомий як IllumiRoom) компанії Microsoft, де також використовується комбінація з проекторів і датчиків Kinect.
При цьому, у жовтні цього року Amazon запатентувала окуляри доповненої реальності, які забезпечують перехід від непрозорого до повністю прозорого відтвореного зображення.
Напередодні Samsung випустила браузер для віртуальної реальності, призначений для окулярів Gear VR. Він дозволяє користувачам переглядати контент онлайн, без необхідності завантажувати його на смартфон. При цьому функція Gaze Mode дозволяє здійснювати управління поглядом.
Раніше повідомлялося про те, що японський стартап H2L розробив пристрій UnlimitedHand, що імітує дотик предметів у віртуальній реальності. Пристрій представляє собою браслет, який кріпиться на передпліччя. Він може зчитувати як окремі жести, так і викликати рухи користувача, стимулюючи активність м'язів.

