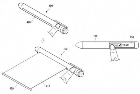
Компания LG получила патентн, который описывает смартфон в виде самой обычной ручки. При этом, устройство оснащено сразу двумя экранами и по функциям не уступает привычным смартфонам. Стоит отметить, что один из экранов – гибкий и он выдвигается из корпуса на нужную длину.
Согласно описанию, смартфон-ручка LG имеет один небольшой дисплей для отображения уведомлений и быстрого доступа к важным опциям, а второй дисплей, выдвигающийся, позволяет переписываться, использовать навигацию, смотреть видео, искать информацию в браузере и так далее.
В устройстве предусмотрены все необходимые датчики: компас, гироскоп, камера и даже сканер отпечатков пальцев для разблокировки. Стоит отметить, что ручка работает и по прямому назначению - все написанное передается в цифровом виде на сопряженное устройство.
Ранее сообщалось о том, что Samsung подала заявку на патент "умного" кольца. Согласно патентной заявке, кольцо может быть использовано для управления смартфоном, планшетом и даже телевизором. Кольцо также может быть синхронизировано с другой домашней техникой.


