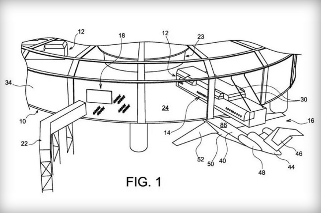
Компания Airbus запатентовала модульную кабину, в которой пассажиры смогут разместиться еще до подачи 3 на посадочную полосу. Эта кабина будет установлена на основную часть самолета с помощью крана после того, как предыдущий модуль будет с него снят. Это должно сократить время подготовки самолета к полету и позволит разместить больше пассажиров на борту. Сообщение об этом было опубликовано изданием The Verge.
Патент был подан компанией еще в 2013 году, но подробности конструкции стали известны только сейчас. Запатентованная Airbus инновация предусматривает, что самолеты будут состоять из двух частей. Модульная капсула будет включать в себя потолок, пол и верхнюю часть фюзеляжа самолета, которая будет крепиться ко второй части самолета, состоящей из крыльев, носа и кабины. Капсула может использоваться для перевозки пассажиров и багажа.
Ранее Airbus получил патент на создание сверхзвукового пассажирского самолета. Самолет сможет совершать перелет от Лондона до Нью-Йорка за один час, в то время как снятый с производства "Конкорд" справлялся с этой задачей за 3,5 часа.

