Компанія Microsoft може випустити ноутбук, який буде працювати від сонячної енергії. Як повідомляє Windows Latest, ймовірно, такий пристрій доповнить лінійку Surface Pro.
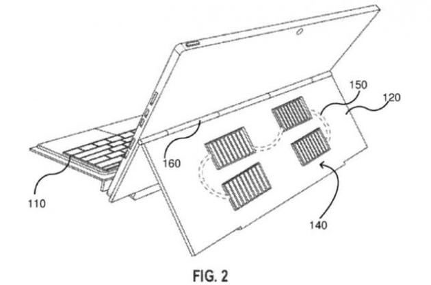
Наголошується, що Microsoft оформила патентну заявку, яка описує ноутбук, на кришці якого кріпляться фотоелементи, що з'єднуються з акумулятором. Заявка була подана у Відомство з патентів і торгових марок США ще в 2018 році, але була опублікована тільки зараз.
У компанії підкреслюють, що панелі можуть отримувати енергію не тільки від сонячного світла, але і від штучних джерел освітлення, наприклад, ламп. Крім того, панелі зможуть надавати живлення ноутбуку, коли він відключений від мережі, але активно використовується.
Інтерес пропозиція Microsoft викликає тому, що користувачі зможуть розгорнути панелі під таким кутом, щоб вони отримували максимальну кількість світла.
Підписуйтесь на наш Telegram-канал з новинами технологій та культури.
Раніше Microsoft представила мишу Microsoft Mavic Arc Mouse, яку можна зігнути по формі руки.
