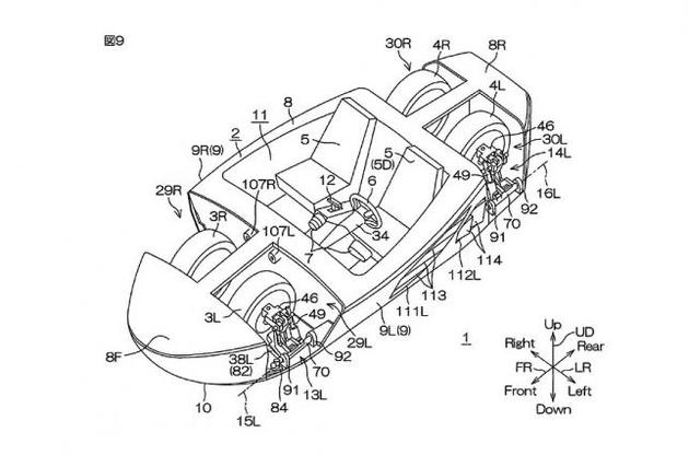
Японское патентное бюро зарегистрировало патент компании Yamaha на создание амфибии в корпусе моторной лодки с убирающимися колесами.
На изображениях, которые сопровождают патентную заявку, можно увидеть, что на задней панели лодки располагается гребной винт, а колеса выдвигаются с помощью повортного механизма и при необходимости прячутся в специальные отсеки, которые закрываются крышками.
Выходит, что двухместный вездеход будет передвигаться по суше как автомобиль, а при спуске на воду колеса втянутся в корпус и далее амфибия продолжит движение уже как моторная лодка.
Сроки появления транспортного средства на рынке не уточняются.
Ранее Airbus получил патент на создание сверхзвукового пассажирского самолета. Самолет сможет совершать перелет от Лондона до Нью-Йорка за один час, в то время как снятый с производства "Конкорд" справлялся с этой задачей за 3,5 часа.
