Инженеры компании Airbus Марко Прамполини и Йоан Корабеф получили патент на создание "ультразвукового воздушного судна и требуемого способа передвижения по воздуху". То есть, по сути, создание сверхзвукового пассажирского 3, передает Business Insider.
Airbus ожидает, что самолет сможет развивать скорость выше, чем Мах 4,5, то есть в 4,5 раза больше, чем скорость звука. Самолет сможет совершать перелет от Лондона до Нью-Йорка за один час, в то время как снятый с производства "Конкорд" справлялся с этой задачей за 3,5 часа.
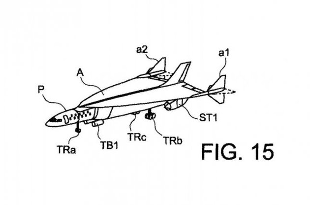
В патенте самолет описывается как "летательный аппарат, состоящий из фюзеляжа, готических треугольных крыльев по обе стороны от фюзеляжа и системы двигателей, способных приводить аппарат в движение".
Самолет будет приводится в движение с помощью трех различных видов двигателей, работающих последовательно, и позволяющих ему набрать крейсерскую высоту и двигаться со скоростью 4800 километров в час.
Ранее сообщалось о том, что США планируют построить самый большой в мире самолет к 2016 году.
